点击图片查看大会详情
据报道,苹果公司近日获得了一项新专利,进一步提高了人们的预期,即苹果将推出一款可折叠屏设备。
CMF设计军团成立了手机等3C电子CMF行业微信交流群,目前已有众多品牌终端及供应链企业加入,长按如下二维码或加群主微信13480765097,备注“3C电子CMF”,加入技术交流群,与行业专家一起交流!
根据专利描述,这项技术允许用户触摸设备的多个部分,而不仅仅是屏幕,以实现一些功能。例如,用户可以触摸设备的侧面来控制摄像头,苹果将其描述为“虚拟快门按钮”。此外,用户还可以在设备一侧上下滑动手指来控制音量。
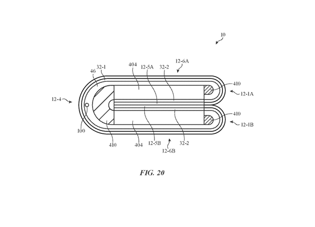
而且,专利描述中还包含一张图像,是一张可折叠的手机或平板电脑的图纸,该手机或平板电脑带有“环绕式”屏幕(即可折叠)。
与三星等竞争对手不同,苹果到目前为止尚未推出可折叠屏iPhone或其他任何设备。但一些分析师预测,苹果将在不远的将来发布这样一款设备。而这一次获得的新专利,进一步提高了人们的这种期待。
瑞银分析师在一份报告中称,这项专利可能表明,苹果将推出一款可折叠设备,但不是今年。可折叠屏幕或将提升未来 iPhone 的市场需求,可折叠屏 iPhone 将推动消费者的购买率和升级率。
当前,可折叠屏手机只占整个智能手机就市场的一小部分。IDC 数据显示,2022 年可折叠屏手机仅占智能手机总出货量的 1.1%。
在过去的几个月里,一些分析师预测,苹果可能会推出某种可折叠的设备,但应该不是 iPhone。因为对于 iPhone,苹果并不急于迎合某种新趋势,而是要等待技术成熟。
为此,市场研究公司 CCS Insight 预计,苹果将在 2024 年率先推出折叠屏iPad。因为目前推出可折叠 iPhone 并没有太大的意义,苹果会避开这一趋势,率先用 iPad 试水。
此外,知名苹果分析师郭明錤也预计,苹果将在 2024 年发布可折叠屏 iPad。
免责声明/Disclaimer
① 素材来源网络新闻;
② 版权归原创作者及其公司所有;
③ 若此文章或图片侵犯到您的权益,请与我们联系(微信13713875667)删除。
当下,环保元素与产品CMF设计的融合已是大势所趋!CMF设计军团将于2023年3月17-18日在深圳举办《2022国际CMF设计大会》,以「绿色环保」为主题,结合环保材料与产品设计应用,进行深度探讨。
目前,三星、小米、oppo、vivo、伊莱克斯、迈瑞、宝马、上汽、一汽、北汽、吉利、东风、比亚迪、长安、长城、美的、TCL、创维、海信、万和、努比亚、方太、万魔、传音、倍思、卓力能、老板、华帝、麦克韦尔、合元、中兴、BOSE、科大讯飞、联想、康佳、欧派、顾家、特步、巴斯夫、陶氏化学、Sabic、PPG、宣伟、大金氟化工、默克、普利特、锦湖日丽、LX Hausys、英国Poly materia、贻如生物等600+行业精英均已报名!点击下方图片可查看报名企业详细名单,大会详情如下:
主题:绿色环保
主办机构:国际CMF设计大会组委会、深圳市工业设计协会
指导机构:世界绿色设计组织、北京光华设计基金会
承办机构:CMF设计军团、萨米设计研究、世界绿色设计组织CMF专委会、北京光华设计基金会CMF专项基金
人数规模:800+
大会议题及嘉宾:
报名咨询通道
1)报名请联系
廖女士:189 2459 4519(同微信)
2)长按如上二维码在线登记报名
往期活动视频回顾
2021国际CMF设计大会.跨界融合 | 视频回顾
想了解更多CMF内容吗?欢迎大家点击下方关注我们公众号,每日8点15,定时发布文章。另外,公众号右上角有搜索按钮,可以快速查找平台早期发过的文章内容哦~~
想了解更多CMF内容吗?欢迎大家点击下方关注我们公众号,每日8点15,定时发布文章。另外,公众号右上角有搜索按钮,可以快速查找平台早期发过的文章内容哦~~
近期精选文章推荐:
100例 | 2023 PANTONE年度色产品应用案例欣赏
从CMF角度看2023 CES展,材料工艺及新品设计亮点汇总
10家生物基涂料企业大盘点!PPG|巴斯夫|立邦|阿克苏|宣伟等
本文来自微信公众号“CMF设计军团号”(ID:cmfjuntuan)。大作社经授权转载,该文观点仅代表作者本人,大作社平台仅提供信息存储空间服务。










